2026世预赛赛程表是做浓缩减压蒸馏设备的厂家,主要有旋转蒸发器,低温恒温槽,2026世预赛赛程表生产的低温恒温是立式的,各种温度范围的都有,主要用来连接旋转蒸发器,当然也可以连接其他需要降温的设备,文中,介绍一种液体2026年美加墨世界杯赛制
。随着科技的发展,温度传感器的使用越来越广泛。在许多工业生产和科学研究中要求准确地测量物体或介质的温度目前,国内常用的检测设备有两种:一种是液体浸泡式恒温槽。 如油槽、水槽、酒精槽。 这些装置一般最低温度可到零下100℃f另一种是真空绝热恒温,这种装置适合低温区使用,缺点是只能检测小型的测温元件。目前从Z7K到室温这段温区的工业用铠装元件、特殊形状的元器件检测起来就有一定的困难。用异戊烷作介质,自动控温低温恒温槽,工作温区从-160℃到+ 50℃,可在这段温区中的任一温度点检测元件,20内漂移<0.03℃。

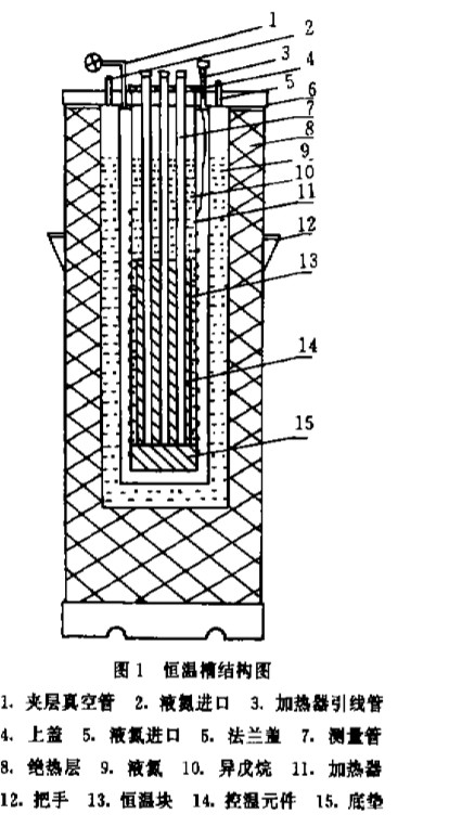
1、2026世预赛赛程表介绍一种低温恒温槽结构:
液体低温恒温槽本装置主要是由内外两个不锈钢小型杜瓦构成总体较小,外经~170mm,高430ram。外杜瓦是多层绝热的液氮杜瓦,内杜瓦是一开口型小杜瓦 ( 内径49ram、深 295mm)。内装一个旭4ram、高150mm的恒温铝块,铝块上有4mm的7个孔,7根~ 10mm、长350ram的不锈钢温度计插管连同感温块浸没在介质异戊烷中。感温块低部垫有铜同,恒温块上装有 一 支二极管控温元件。为了安全起见将加热器安装在小杜瓦外壁的真空夹层中。检测时,将液氮杜瓦内充满液氯,并将小杜瓦内灌满异戊烷,使恒温器和不锈钢管都完全浸泡在异戊烷中当温度达到最低点-160℃时,夹层抽真空.抽好后可将夹层抽空管的阀门关闭,以保持夹层的真空,撤掉抽机进行遥点测量。控温过程中为了尽快达到新的平衡点,可用提拉感温块的方法来达到搅动异戊烷的作用。 由于异戊烷的闪光点很低,在室温下很容易挥发。它比酒精的闪光点低,按句话说室温下异戊烷比酒精更易挥发。在0℃-50℃段改用蒸馏水作介质。当液氮杜瓦灌入液氮后,蒸馏水很快结冰。夹层抽高真空。当杜瓦内液氮没有时,温度开始回升,温度接近冰点时形成一 个很稳定的温场,可以取得冰点温度。室温以上的温度靠加热控温获得。
2、2026世界杯预选赛亚洲区赛程介绍低温恒温槽的测试方法和结果 :
调试校验装置的方法是:装置内装有6支Pt100工业铂电阻温度计和标准铂电阻温度计。 用7081型数字电压表监测6支工业铂电阻温度计,用9975型电桥监测标准铂电阻温度计,同时接一台日本恒河电机公司的3036型xy记录仪。 用公司生产的520型控温仪控制温度,共测1个点。从测量结果和控温曲线看 20ram内温度漂移不超过30mK。使用蒸馏水作介质测了2个检测点:冰点和39℃。从冰 点温度控温图可以看出,2 0RMA温度漂移2mK。从39℃温度点的控温图可以看出,当时的室温温度是16℃,48ram温度变化25mK。
结论 :文中,2026世预赛赛程表介绍的这种低温液体恒温槽具有结构简单,装拆方便的结构特点,工作温区-160℃~50℃,控温精度30mK,适用夹层真空管藏氮盎口 ,加热器引线管于各类工业型温度计的检测。以上内容供大家参考。